Rollico

Koszyki Łożyskowe - H

Koszyki Łożyskowe

Liniowy koszyk łożyskowy jest niezbędnym elementem składowym liniowego łożyska tocznego zbudowanego w oparciu o prowadnice liniowe. Głównym zadaniem koszyka łożyskowego jest utrzymywanie elementów tocznych wewnątrz łożyska na bieżniach prowadnic w odpowiedniej pozycji pracy.

Płaskie jednorzędowe koszyki liniowe z igiełkami łożyskowymi

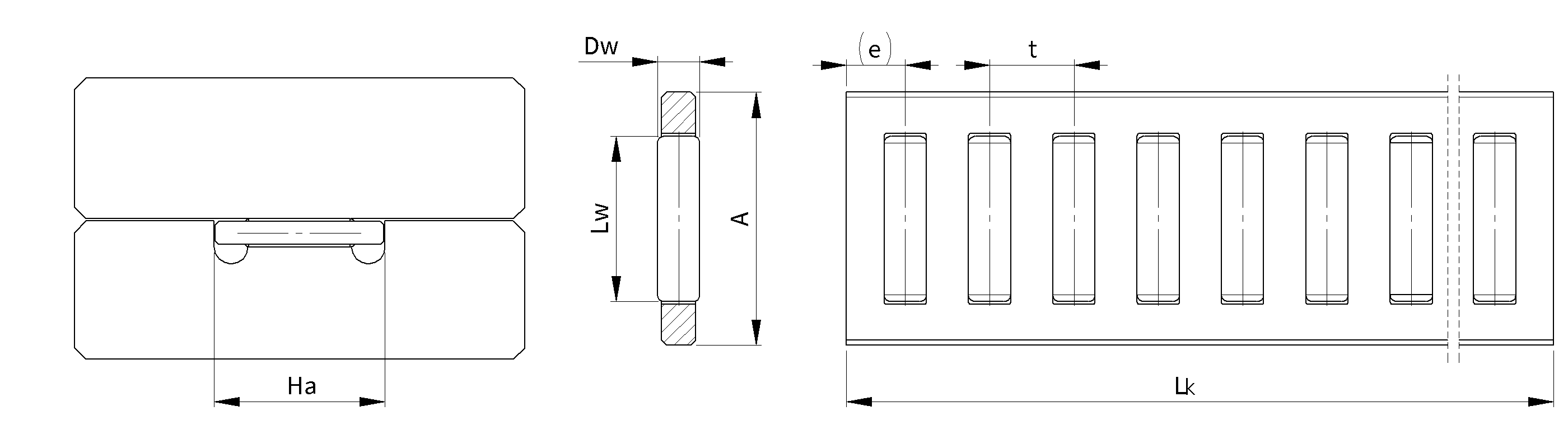
Rysunek techniczny koszyka łożyskowego H

Tabela wymiarów koszyków łożyskowych H

Średnica
igiełek
Ø
Typ/
symbol
Wymiary
Nośność *
Wymiar
konstrukcyjny
A
DW
LW
t
e
LK
max
C
[N]
CO
[N]
Ha
2
H 10 10 2 6,8 4,5 3,5 2 000 21 600 62 800 10,3+0,2
2,5 H 15 15 2,5 9,8 5 3,5 2 000 35 800 103 800 15,3+0,2
3 H 20 20 3 13,8 6 4,5 2 000 51 900 148 000 20,4+0,2
3,5 H 25 25 3,5 17,8 7 5 2 000 68 200 190 000 25,4+0,2
*)  - Nośność dla teoretycznej długości koszyka 100 mm z siłą nacisku „F” zgodnie z rysunkiem.
     - Nośność odnosi się do prowadnic o twardości 60 +/- 2 HRc oraz gładkości powierzchni Ra<0,4.
     - Podstawą obliczeń nośności koszyków jest ilość igiełek/wałków/kulek łożyskowych zawartych w koszyku.
     - Tolerancja długości koszyka LK +0/-t

Tabela ciężaru koszyków łożyskowych H

Tabela ciężaru koszyków (dla długości Lk=1000 mm) [g]
Typ/symbol
Aluminium
Stal
Mosiądz
H 10
>63
127
-
H 15
120
224
234
H 20
202
369
389
H 25
294
546
575

 

AlAluminium
MsMosiądz
FStal

Precyzja

Tolerancja sortowania
nawet do 0,5 µm

Jakość

System zarządzania
jakością ISO 9001:2015

Doświadczenie

Ponad 20 lat doświadczenia
w technice liniowej.

Personalizacja

Produkujemy elementy pod
indywidualne wymagania.

Some Action Some Action